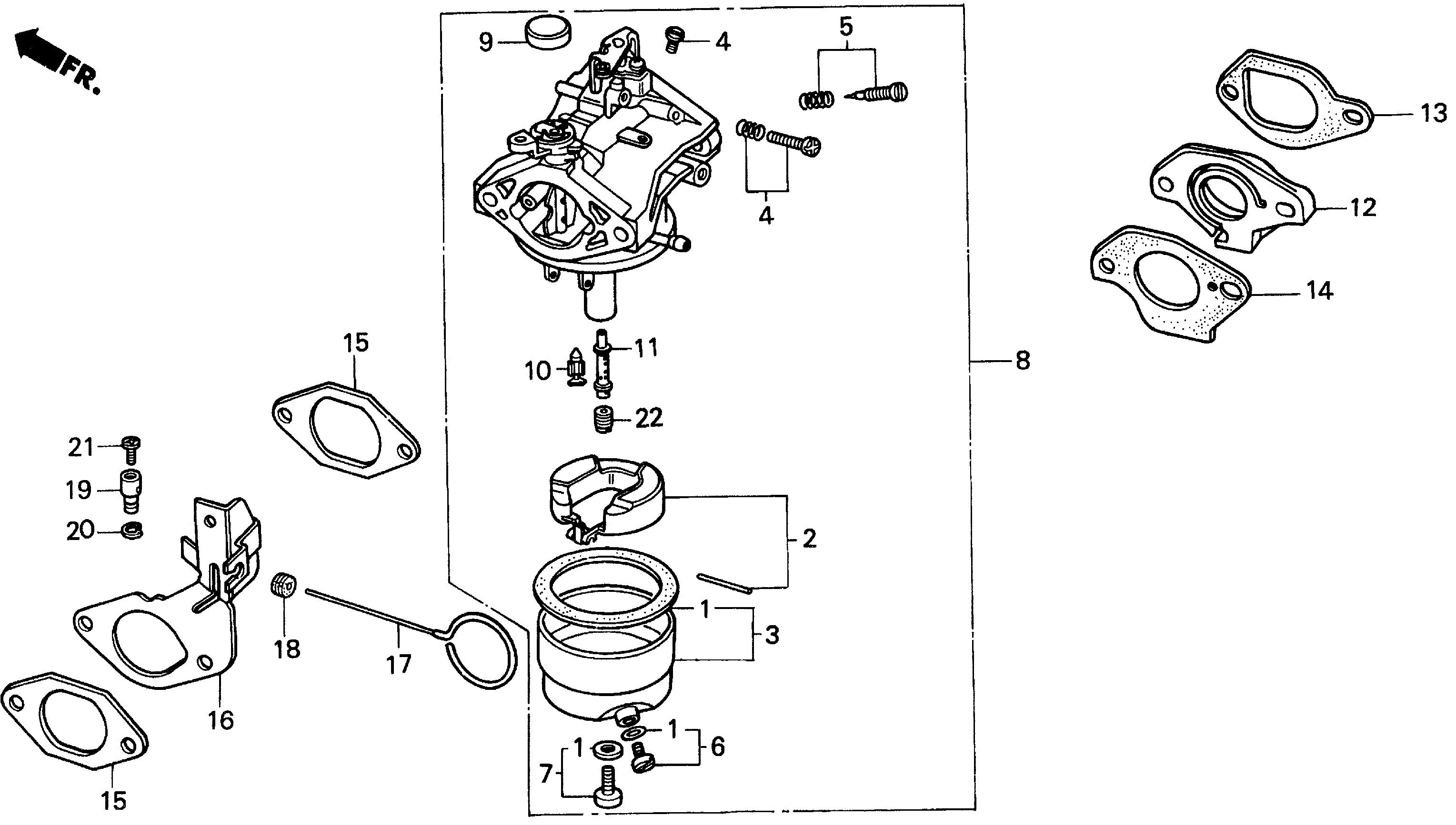
Snow Blowers HS HS70 HS70 WA HS70-1000024-9999999 HS70 CARBURETOR - Bozeman Distributors

Ref No
Part Number
Description
Serial Range
Qty
Price

Ref No
1
Part Number
16010-YA0-801
Description
GASKET SET
Serial Range
1000001 - 9999999
Qty
Price
$24.74

Ref No
2
Part Number
16013-883-005
Description
FLOAT SET
Serial Range
1000001 - 9999999
Qty
Price
$37.64

Ref No
3
Part Number
16015-896-005
Description
CHAMBER SET, FLOAT (NOT AVAILABLE)
Serial Range
1000001 - 9999999

Ref No
4
Part Number
16016-YA0-801
Description
SCREW SET
Serial Range
1000001 - 9999999
Qty
Price
$21.06

Ref No
5
Part Number
16016-YA1-801
Description
SCREW SET A
Serial Range
1000001 - 9999999
Qty
Price
$18.50

Ref No
6
Part Number
16024-890-731
Description
SCREW SET, DRAIN (NOT AVAILABLE)
Serial Range
1000001 - 9999999

Ref No
7
Part Number
16028-ZE0-005
Description
SCREW SET
Serial Range
1000001 - 9999999

Ref No
7
Part Number
16028-ZK7-S91
Description
SCREW SET
Serial Range
1000001 - 9999999
Qty
Price
$13.14

Ref No
8
Part Number
16100-889-632
Description
CARBURETOR ASSY. (BB49B B) (NOT AVAILABLE)
Serial Range
1000001 - 9999999

Ref No
9
Part Number
16148-141-881
Description
CAP, CHOKE DUST
Serial Range
1000001 - 9999999
Qty
Price
$6.38

Ref No
10
Part Number
16155-883-005
Description
VALVE, FLOAT
Serial Range
1000001 - 9999999

Ref No
11
Part Number
16166-889-631
Description
NOZZLE, MAIN (NOT AVAILABLE)
Serial Range
1000001 - 9999999

Ref No
12
Part Number
16211-889-000
Description
INSULATOR, CARBURETOR
Serial Range
1000001 - 9999999
Qty
Price
$16.62

Ref No
13
Part Number
16212-889-800
Description
GASKET, INSULATOR
Serial Range
1000001 - 9999999
Qty
Price
$2.30

Ref No
14
Part Number
16221-890-306
Description
GASKET, CARBURETOR
Serial Range
1000001 - 9999999

Ref No
14
Part Number
16221-890-800
Description
GASKET, CARBURETOR
Serial Range
1000001 - 9999999
Qty
Price
$2.64

Ref No
15
Part Number
16269-890-306
Description
GASKET, AIR CLEANER
Serial Range
1000001 - 9999999

Ref No
15
Part Number
16269-890-800
Description
GASKET, AIR CLEANER
Serial Range
1000001 - 9999999
Qty
Price
$1.64

Ref No
16
Part Number
16598-889-630
Description
STAY, CHOKE CONTROL (NOT AVAILABLE)
Serial Range
1000001 - 9999999

Ref No
17
Part Number
16611-889-630
Description
ROD, CHOKE CONTROL (NOT AVAILABLE)
Serial Range
1000001 - 9999999

Ref No
18
Part Number
16613-890-000
Description
GROMMET, CHOKE ROD
Serial Range
1000001 - 9999999
Qty
Price
$2.66

Ref No
19
Part Number
16617-890-010
Description
HOLDER, CABLE
Serial Range
1000001 - 9999999
Qty
Price
$8.24

Ref No
20
Part Number
90605-230-000
Description
CIRCLIP (5MM)
Serial Range
1000001 - 9999999

Ref No
21
Part Number
93500-04008-0A
Description
SCREW, PAN (4X8)
Serial Range
1000001 - 9999999
Qty
Price
$1.06

Ref No
22
Part Number
99101-124-0820
Description
JET, MAIN (#82)
Serial Range
1000001 - 9999999
Qty
Price
$11.60

Ref No
22
Part Number
99101-124-0850
Description
JET, MAIN (#85)
Serial Range
1000001 - 9999999
Qty
Price
$11.60

Ref No
22
Part Number
99101-124-0880
Description
JET, MAIN (#88)
Serial Range
1000001 - 9999999
Qty
Price
$11.60