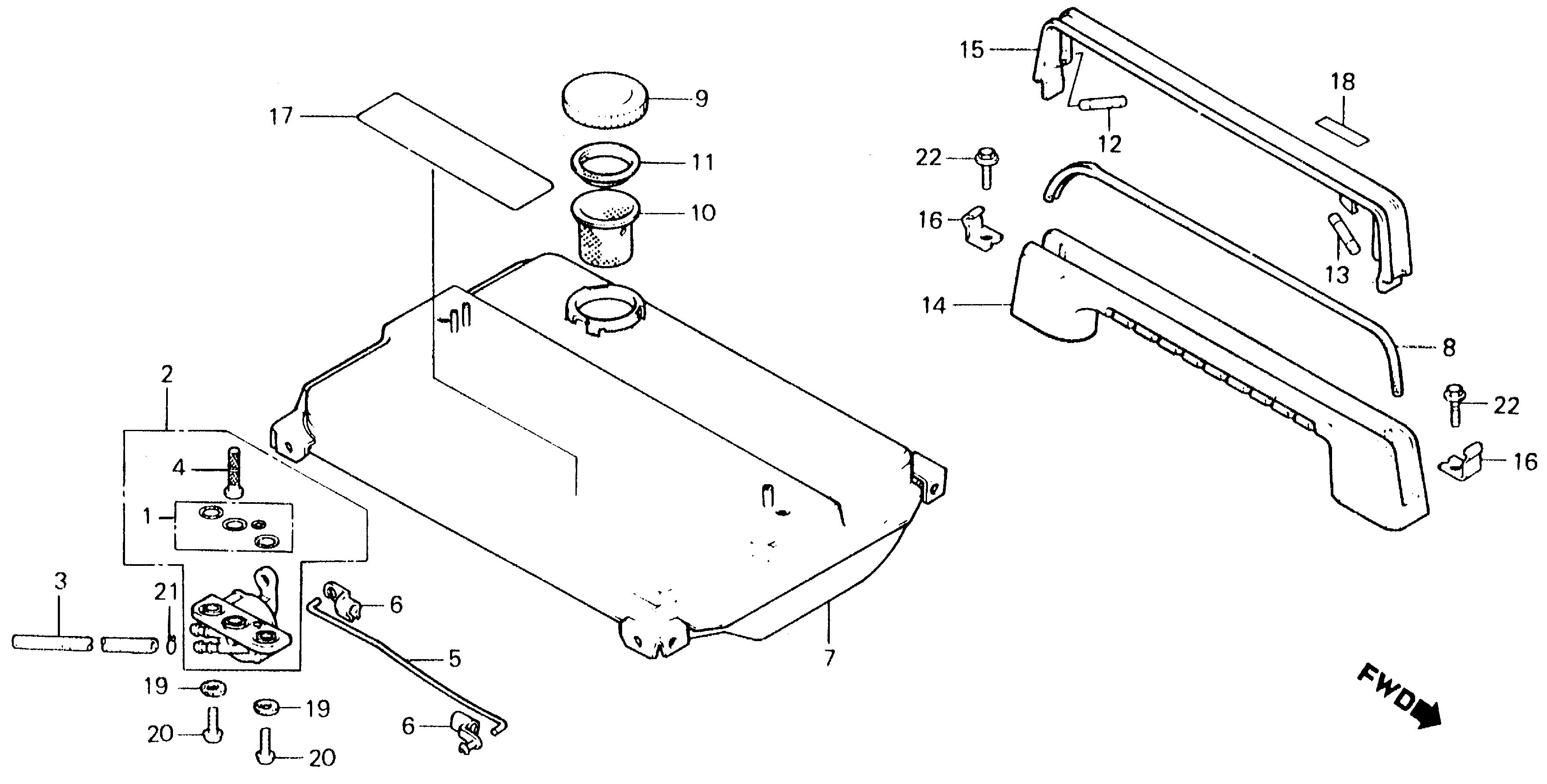
Generators EM EM500 EM500 A EM500-1000001-9999999 FUEL TANK@FUEL VALVE - Bozeman Distributors

Ref No
Part Number
Description
Serial Range
Qty
Price

Ref No
1
Part Number
16080-892-003
Description
GASKET SET, PETCOCK (NOT AVAILABLE)
Serial Range
1000001 - 9999999

Ref No
2
Part Number
16950-892-003
Description
PETCOCK ASSY.
Serial Range
1000001 - 9999999
Qty
Price
$100.32

Ref No
3
Part Number
16952-892-000
Description
TUBE, BREATHER PETCOCK (NOT AVAILABLE)
Serial Range
1000001 - 9999999

Ref No
4
Part Number
16952-892-003
Description
SCREEN, FUEL STRAINER
Serial Range
1000001 - 9999999

Ref No
5
Part Number
16955-892-000
Description
ROD, PETCOCK (NOT AVAILABLE)
Serial Range
1000001 - 9999999

Ref No
6
Part Number
16956-892-000
Description
JOINT, ROD
Serial Range
1000001 - 9999999
Qty
Price
$7.86

Ref No
7
Part Number
17500-892-010MA
Description
TANK, FUEL *NH44MS* (SPECIAL SILVER METALLIC)
Serial Range
1000001 - 9999999

Ref No
8
Part Number
17601-892-000
Description
TUBE, HANDLE BREATHER (NOT AVAILABLE)
Serial Range
1000001 - 9999999

Ref No
9
Part Number
17650-801-020
Description
CAP, TANK
Serial Range
1000001 - 9999999

Ref No
10
Part Number
17672-812-000
Description
FILTER, FUEL
Serial Range
1000001 - 1000128

Ref No
10
Part Number
17672-892-000
Description
FILTER, OIL (NOT AVAILABLE)
Serial Range
1000129 - 9999999

Ref No
11
Part Number
17673-836-000
Description
RUBBER, FILTER (NOT AVAILABLE)
Serial Range
1000129 - 9999999

Ref No
12
Part Number
32345-892-000
Description
FUSE (10A)
Serial Range
1000001 - 9999999
Qty
Price
$1.14

Ref No
12
Part Number
98200-21000
Description
FUSE B (10A)
Serial Range
1000001 - 9999999
Qty
Price
$1.14

Ref No
13
Part Number
38201-893-771
Description
FUSE (4.5A)
Serial Range
1000001 - 9999999
Qty
Price
$2.38

Ref No
14
Part Number
68110-892-000
Description
HANDLE, CARRY (NOT AVAILABLE)
Serial Range
1000001 - 9999999

Ref No
15
Part Number
68121-892-000
Description
COVER, HANDLE (NOT AVAILABLE)
Serial Range
1000001 - 9999999

Ref No
16
Part Number
68125-892-000
Description
HOOK, HANDLE COVER (NOT AVAILABLE)
Serial Range
1000001 - 9999999

Ref No
17
Part Number
87522-836-670
Description
MARK A, CAUTION (NOT AVAILABLE)
Serial Range
1000001 - 9999999

Ref No
18
Part Number
87536-892-620
Description
MARK, FUSE (NOT AVAILABLE)
Serial Range
1000001 - 9999999

Ref No
19
Part Number
90445-700-000
Description
GASKET, FIBER (6MM)
Serial Range
1000001 - 9999999

Ref No
20
Part Number
93500-06020-0A
Description
SCREW, PAN (6X20)
Serial Range
1000001 - 9999999
Qty
Price
$1.24

Ref No
21
Part Number
95002-02080
Description
CLIP, TUBE (B8)
Serial Range
1054582 - 9999999
Qty
Price
$2.20

Ref No
22
Part Number
95700-06010-08
Description
BOLT, FLANGE (6X10)
Serial Range
1000001 - 9999999
Qty
Price
$1.96

Ref No
22
Part Number
95701-06010-08
Description
BOLT, FLANGE (6X10)
Serial Range
1000001 - 9999999
Qty
Price
$1.96