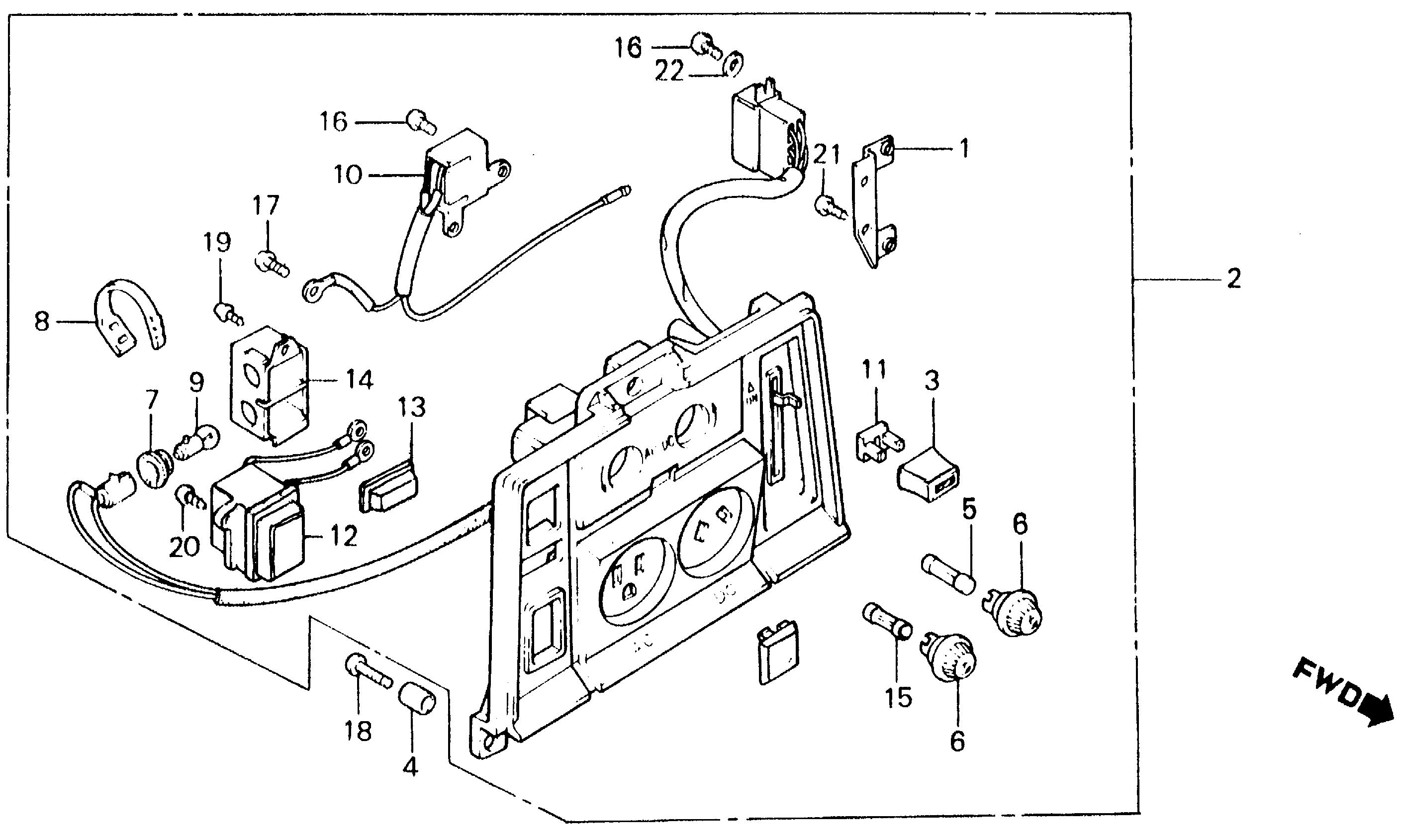
Generators EM EM500 EM500 A EM500-1000001-9999999 EM 500 PANEL - Bozeman Distributors

Ref No
Part Number
Description
Serial Range
Qty
Price

Ref No
1
Part Number
32301-892-003
Description
STAY, CONNECTOR
Serial Range
1000001 - 9999999

Ref No
2
Part Number
32340-892-632
Description
PANEL ASSY.
Serial Range
1000001 - 1061494

Ref No
2
Part Number
32340-892-633
Description
PANEL ASSY. (NOT AVAILABLE)
Serial Range
1061495 - 9999999

Ref No
3
Part Number
32343-892-003
Description
KNOB, PETCOCK LEVER
Serial Range
1061495 - 9999999
Qty
Price
$13.14

Ref No
4
Part Number
32344-892-000
Description
COLLAR, PANEL
Serial Range
1000001 - 9999999

Ref No
5
Part Number
32345-892-000
Description
FUSE (10A)
Serial Range
1000001 - 9999999
Qty
Price
$1.14

Ref No
5
Part Number
98200-21000
Description
FUSE B (10A)
Serial Range
1000001 - 9999999
Qty
Price
$1.14

Ref No
6
Part Number
32347-892-003
Description
HOLDER, FUSE (NOT AVAILABLE)
Serial Range
1000001 - 9999999

Ref No
7
Part Number
32901-892-003
Description
GROMMET
Serial Range
1000001 - 9999999

Ref No
8
Part Number
32902-892-003
Description
BAND
Serial Range
1000001 - 9999999
Qty
Price
$4.44

Ref No
9
Part Number
34902-202-000
Description
BULB, DASH (6V 3W)
Serial Range
1000001 - 9999999

Ref No
10
Part Number
36100-892-003
Description
SWITCH ASSY., STOP (NOT AVAILABLE)
Serial Range
1000001 - 9999999

Ref No
11
Part Number
36106-892-003
Description
BUSH, CONTROL KNOB
Serial Range
1000001 - 9999999
Qty
Price
$6.34

Ref No
12
Part Number
37500-892-003
Description
METER, FREQUENCY
Serial Range
1000001 - 9999999

Ref No
13
Part Number
37901-892-003
Description
LENS, PILOT LAMP (NOT AVAILABLE)
Serial Range
1000001 - 9999999

Ref No
14
Part Number
37902-892-003
Description
CASE, LAMP (NOT AVAILABLE)
Serial Range
1000001 - 9999999

Ref No
15
Part Number
38201-893-771
Description
FUSE (4.5A)
Serial Range
1000001 - 9999999
Qty
Price
$2.38

Ref No
16
Part Number
93500-03008-0H
Description
SCREW, PAN (3X8)
Serial Range
1000001 - 9999999
Qty
Price
$0.90

Ref No
17
Part Number
93500-03010-0H
Description
SCREW, PAN (3X10)
Serial Range
1000001 - 9999999
Qty
Price
$1.00

Ref No
18
Part Number
93500-05012-0A
Description
SCREW, PAN (5X12)
Serial Range
1000001 - 9999999
Qty
Price
$1.10

Ref No
19
Part Number
93901-32020
Description
SCREW, TAPPING (3X6) (NOT AVAILABLE)
Serial Range
1000001 - 9999999

Ref No
20
Part Number
93901-32320
Description
SCREW, TAPPING (3X12)
Serial Range
1000001 - 9999999
Qty
Price
$1.10

Ref No
21
Part Number
93901-34520
Description
SCREW, TAPPING (4X20)
Serial Range
1000001 - 9999999
Qty
Price
$1.08

Ref No
22
Part Number
94101-03800
Description
WASHER, PLAIN (3MM)
Serial Range
1000001 - 9999999
Qty
Price
$1.20