Generators EM EM4000 EM4000SX AT1/A EBRC-1500001-9999999 HANGER KIT - Bozeman Distributors

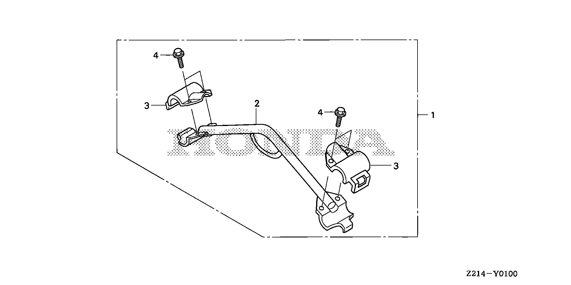
Ref No
Part Number
Description
Serial Range
Qty
Price

Ref No
1
Part Number
06810-Z22-A30ZA
Description
HANGER KIT *NH105* (MAT BLACK)
Serial Range
1000001 - 9999999
Qty
Price
$44.98

Ref No
2
Part Number
53150-Z22-E30ZA
Description
HANGER *NH105* (MAT BLACK)
Serial Range
1000001 - 9999999
Qty
Price
$71.14

Ref No
3
Part Number
53154-Z22-E30ZA
Description
BRACKET, HANGER (UPPER) *NH105* (MAT BLACK)
Serial Range
1000001 - 9999999
Qty
Price
$13.50

Ref No
4
Part Number
95701-08016-07
Description
BOLT, FLANGE (8X16)
Serial Range
1000001 - 9999999
Qty
Price
$2.20