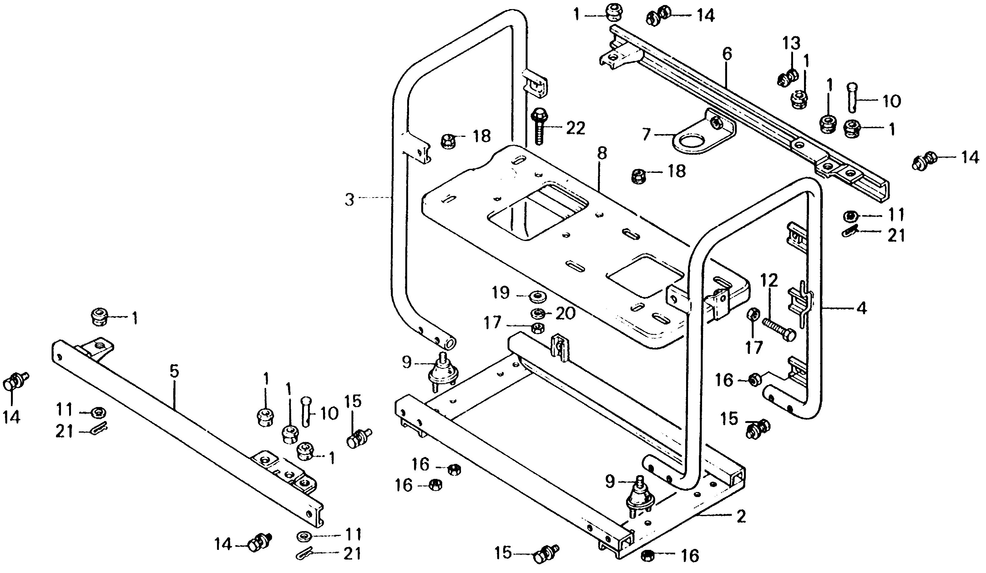
Ref No
Part Number
Description
Serial Range
Qty
Price
Ref No 1
Part Number 17682-817-020
Description RUBBER, TANK CUSHION (NOT AVAILABLE)
Serial Range 1000001 - 9999999
Qty
Price $3.52
Add To Cart
Ref No 2
Part Number 50311-839-010
Description BED, FRAME
Serial Range 1000001 - 9999999
Ref No 3
Part Number 50312-876-000
Description FRAME, L. SIDE
Serial Range 1000001 - 9999999
Ref No 4
Part Number 50314-876-000
Description FRAME, R. SIDE
Serial Range 1000001 - 9999999
Ref No 5
Part Number 50315-876-000
Description FRAME, FR. (UPPER)
Serial Range 1000001 - 9999999
Ref No 6
Part Number 50316-876-010
Description FRAME, RR. (UPPER)
Serial Range 1000001 - 9999999
Ref No 7
Part Number 50317-876-010
Description STOPPER, ENGINE
Serial Range 1000001 - 9999999
Ref No 8
Part Number 68310-876-000
Description BED, ENGINE
Serial Range 1000001 - 9999999
Ref No 9
Part Number 68325-876-003
Description RUBBER (LOWER) (NOT AVAILABLE)
Serial Range 1000001 - 9999999
Ref No 10
Part Number 68331-876-000
Description PIN, CONTROL BOX SETTING
Serial Range 1000001 - 9999999
Qty
Price $5.12
Add To Cart
Ref No 11
Part Number 90506-500-000
Description WASHER, AIR DUCT
Serial Range 1000001 - 9999999
Ref No 12
Part Number 92032-08040-0A
Description BOLT, HEX. (8X40)
Serial Range 1000001 - 9999999
Ref No 13
Part Number 93402-06012-08
Description BOLT-WASHER (6X12)
Serial Range 1000001 - 3031967
Qty
Price $2.04
Add To Cart
Ref No 13
Part Number 95701-06012-08
Description BOLT, FLANGE (6X12)
Serial Range 3031968 - 9999999
Qty
Price $2.04
Add To Cart
Ref No 14
Part Number 93412-08016-08
Description BOLT-WASHER (8X16)
Serial Range 3031968 - 9999999
Qty
Price $2.58
Add To Cart
Ref No 15
Part Number 93402-08020-00
Description BOLT-WASHER (8X20)
Serial Range 3031968 - 9999999
Qty
Price $2.42
Add To Cart
Ref No 16
Part Number 94001-06000-0S
Description NUT, HEX. (6MM)
Serial Range 1000001 - 9999999
Ref No 16
Part Number 94001-06200-0S
Description NUT, HEX. (6MM)
Serial Range 1000001 - 9999999
Qty
Price $1.64
Add To Cart
Ref No 17
Part Number 94002-08000-0S
Description NUT, HEX. (8MM)
Serial Range 1000001 - 9999999
Qty
Price $1.64
Add To Cart
Ref No 18
Part Number 94050-08000
Description NUT, FLANGE (8MM)
Serial Range 1000001 - 9999999
Ref No 19
Part Number 94101-08000
Description WASHER, PLAIN (8MM)
Serial Range 1000001 - 9999999
Qty
Price $1.04
Add To Cart
Ref No 20
Part Number 94111-08000
Description WASHER, SPRING (8MM)
Serial Range 1000001 - 9999999
Qty
Price $1.24
Add To Cart
Ref No 21
Part Number 94251-08000
Description PIN, LOCK (8MM)
Serial Range 1000001 - 9999999
Qty
Price $1.54
Add To Cart
Ref No 22
Part Number 95801-08040-08
Description BOLT, FLANGE (8X40)
Serial Range 1000001 - 9999999
Qty
Price $2.86
Add To Cart