Engines GX GX270 GX270T2 QPW GCBHT-1000001-9999999 CONTROL (1) - Bozeman Distributors

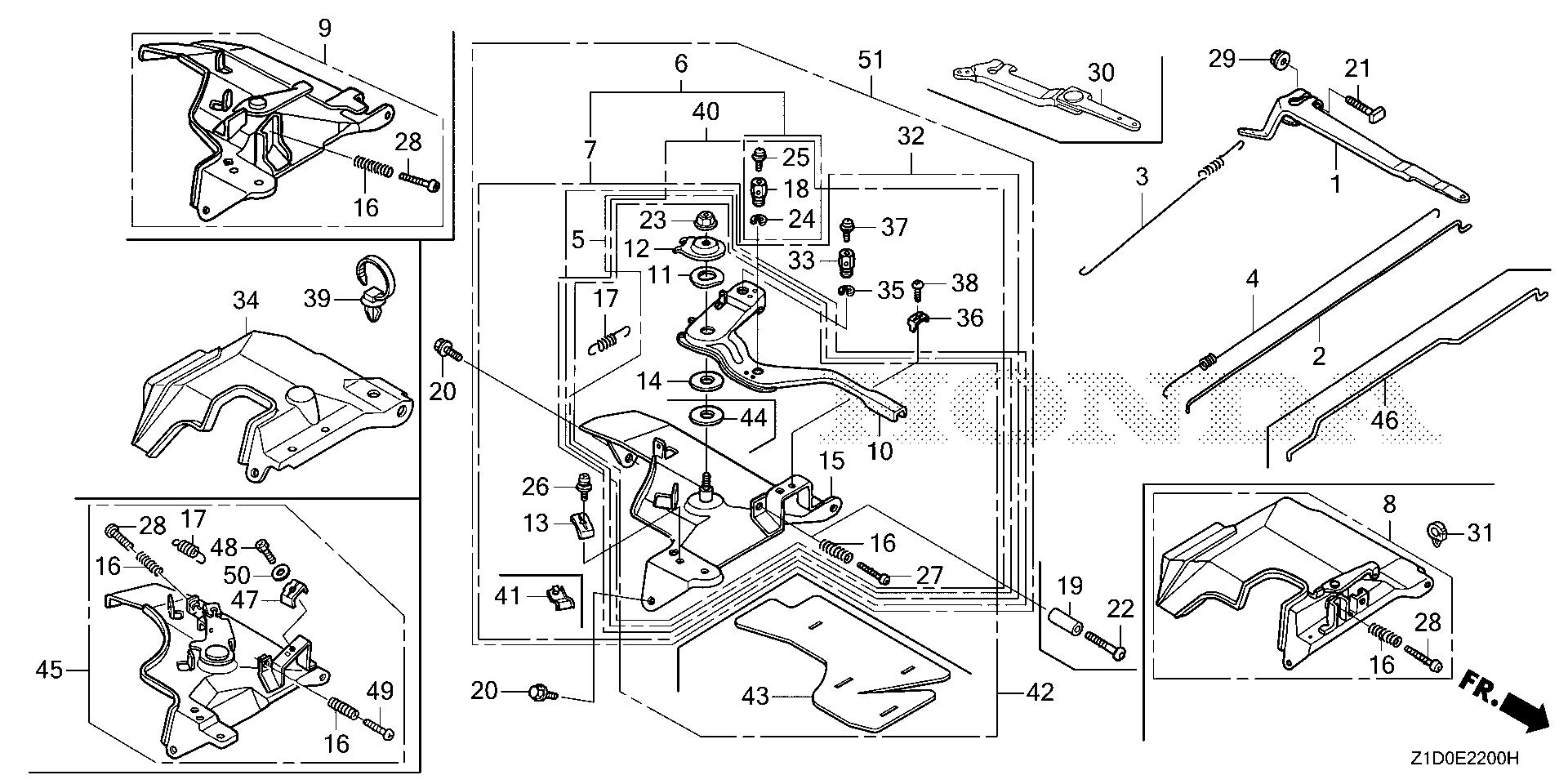
Ref No
Part Number
Description
Serial Range
Qty
Price

Ref No
1
Part Number
16551-ZE2-000
Description
ARM, GOVERNOR
Serial Range
1000001 - 9999999
Qty
Price
$18.44

Ref No
2
Part Number
16555-ZE2-000
Description
ROD, GOVERNOR
Serial Range
1000001 - 9999999
Qty
Price
$5.30

Ref No
3
Part Number
16561-ZE2-000
Description
SPRING, GOVERNOR (L=145.0MM) (WIRE DIAMETER 1.0MM)
Serial Range
1000001 - 9999999
Qty
Price
$5.74

Ref No
4
Part Number
16562-ZE2-000
Description
SPRING, THROTTLE RETURN
Serial Range
1000001 - 9999999
Qty
Price
$5.00

Ref No
9
Part Number
16500-Z5K-407
Description
CONTROL ASSY. (COO)(FOR U.S.A.)
Serial Range
1000001 - 9999999

Ref No
9
Part Number
16500-Z5K-871
Description
CONTROL ASSY.
Serial Range
1000001 - 9999999
Qty
Price
$12.86

Ref No
16
Part Number
16584-883-300
Description
SPRING, CONTROL ADJUSTING
Serial Range
1000001 - 9999999
Qty
Price
$5.00

Ref No
20
Part Number
90013-883-000
Description
BOLT, FLANGE (6X12) (CT200)
Serial Range
1000001 - 9999999

Ref No
21
Part Number
90015-Z5T-000
Description
BOLT, GOVERNOR ARM
Serial Range
1000001 - 9999999
Qty
Price
$0.56

Ref No
28
Part Number
93500-05035-0A
Description
SCREW, PAN (5X35)
Serial Range
1000001 - 9999999
Qty
Price
$1.38

Ref No
29
Part Number
94050-06000
Description
NUT, FLANGE (6MM)
Serial Range
1000001 - 9999999